新浪财经

知情人士:仁东控股确实为庄家操盘的个股 庄家已被司法部门控制

证券时报e公司

关注

恐怖穿仓一触即发!4倍牛股庄家遭控制,控盘大量融资盘和场外配资!10跌停逼疯散户:亏完本金还欠一屁股债!

连续10个交易日跌停,市值最高蒸发245亿,最惨“牛股”仁东控股(002647)的下行走势仍在延续。

仁东控股缘何闪崩?各方投资者心态如何?公司基本面是否有风险?控股股东目前境遇如何?带着这些问题,证券时报·e公司记者实地探访仁东控股办公点,采访投资者、券商、机构及相关知情人士,梳理公司经营及控股股东投资情况,发现仁东控股确为庄家操盘个股,目前庄家已被司法控制;现阶段投资者心态不一,市场情绪整体悲观,救场资金偏向谨慎;在市场单边下跌的情况下,公司经营风险已经显现,但控股股东仍处于浮盈状态,且质押风险可控。

庄家已被司法控制

近日,证券时报·e公司记者从一位接近监管层的知情人处独家获悉,仁东控股确实为庄家操盘的个股,目前该庄家已被司法部门控制。

“该庄家控制了不少个人账户的融资盘以及场外配资盘,庄家被监管和司法部门控制后,融资盘按规定被券商强制卖出致使该股开始跌停,配资盘也闻风大举卖出,而仁东控股跌停后的成交量极低,且卖盘很大,导致连续跌停引发踩踏。”

事实上,市场上关于仁东控股为庄股的讨论早已甚嚣尘上。光大银行金融市场分析师周茂华告诉证券时报·e公司记者,一般来说,庄家会选择与题材概念有关或沾边的、市值相对较小的个股,善于做K线,给投资者以温和走升、“慢牛”的错觉,今年以来,仁东控股曾走出4倍牛股行情,且呈现“每日涨幅不高、换手率低但稳定爬升”的特征,一路温和上行,控盘迹象明显但个股走势与基本面表现并不一致。而今,连续一字跌停,几乎不给散户解套的机会。“个人觉得,仁东控股是偏离基本面炒作导致损失的又一个教训。”

某私募机构人士告诉记者,一般个股崩盘均伴随踩踏事件,杠杆加的越高恐慌出逃的心理就越强。根据以往的经验,当出现下跌迹象时,一般是场外配资盘率先出货,紧接着是场内配资盘出于资金安全需求强平,在配资盘压单较大的情况下,散户会跟风出货,形成恶性循环。

“我们上周就预计本周还会继续跌,市场的恐慌情绪需要逐步消化。”上述人士表示,“目前封单量还持续处于高位,想要撬开跌停板所需资金不菲。而随着监管日渐趋严,目前市场上的‘救场’资金较为谨慎。结合资金性质及市场情绪,随着股价大幅下跌,撬板所需的资金量会随之缩小,再加上某些大幅亏损的投资者可能会‘放弃抵抗’而不再挂单,抛压会有所降低,但什么时候开板仍无法预计。而根据以往的经验,就算开板了,后续的修复过程也相当漫长。”

各路投资者已炸锅

12月4日,在仁东控股第八个跌停板,杨宁(化名)利用华鑫快速通道侥幸逃离,在25.79元/股及时止损。“虽然亏不少,还是很庆幸跑掉了。我之前也是听别人推荐才关注到这只股票,看形态还不错就高位买进了,结果没多久就开始暴跌,现在想想真是悔不当初。”

而与杨宁形成鲜明对比,另一位投资者汪明(化名)至今还在跌停板上“挣扎”。“心态已经崩了,破罐子破摔吧……”汪明告诉证券时报·e公司记者,“现在已经跌了那么多了,再跑意义也不大了。”当记者问及其持仓成本时,他开玩笑地说道:“天上……”所幸,汪明购买仁东控股的资金均为自有资金,未涉及融资买入,不然早已穿仓。

其实,在这波下跌行情中,被卷入的早已不止普通投资者。华东地区某券商人士告诉记者:“目前我们托管的仁东控股大概有18个亿,其中有相当一部分是两融账户持有的,有些账户早已达到了平仓线。现在市场这样单边下跌,挂了单也卖不出去,只能干瞪眼,我们也很着急。”

数据显示,截至12月7日,仁东控股融资余额为30.4亿元,占流通市值比例达23.3%。而随着股价大幅缩水,投资者融资买入偿还意愿也逐步退减,12月7日融资买入偿还额仅为991万元,较前一交易日降幅近60%。证券时报·e公司记者关注到,仁东控股的融资盘在8月初尚不足20亿元,11月中旬快速攀升至34亿元,期间股价在介于40-60元,意味着有10几亿的融资盘持仓成本在40元以上。

一位熟悉两融规则的券商人士告诉记者,投资者融资买入证券,当维持担保比例达150%时,触及警戒线;当到达140%时,券商会督促客户追加担保品;到达130%时,会强制平仓。这套机制在常态下基本可以保证券商出借的资金部分不受损。不过碰上仁东控股的暴跌行情,这套机制显然已经失灵。在卖盘巨大的情况下,券商强平无果,最终出借的资金也会遭遇亏损。需要关注的是,即便卖不出去,但作为常规风控动作,券商依然会在每天对达到平仓线的股份在跌停板挂单。而随着股价持续下跌,更多的融资盘将面临平仓甚至穿仓,抛盘或将进一步放大。

上述人士给记者算了一笔账,投资者如果按照1:1融资比例满仓买入仁东控股,目前股价为20.98元/股,也就意味着在成本价在42元/股以上的融资盘在亏掉本金的同时,从券商融入的资金也已经面临亏损。“后续即便被强平了,作为负债,投资者依然需要弥补券商亏损的资金。” 

针对投资者穿仓的后续处理问题,上述券商人士告诉记者,当信用交易投资者担保物被全部平仓后,仍不足以偿还对证券公司所负债务的,证券公司会向投资者继续追偿,倘若协商不成,最终会采取法律途径进行追偿。

如果投资者拒不履行偿还义务,将有可能被列入券商的投资交易黑名单;另外,一旦诉诸法律,在法院做出裁定后,相关执行信息将会在个人征信报告中体现,从而影响个人其他信贷业务。

记者随后致电了央行征信中心,客服人员亦表示,虽然两融账户开立情况不在个人征信报告中显示,但若后续因此产生司法裁定或执行信息,征信报告将会收录。

公司讳莫如深

针对股价连续跌停的情况,证券时报·e公司记者试图联系公司进行采访,仁东控股董秘办相关负责人不愿接受采访,其回复称,“公司已按照相关规定进行公告,股价是市场的行为,公司也不知道原因”。

为进一步了解情况,12月7日下午,证券时报·e公司记者实地走访了仁东控股的办公所在地北京正大中心。

该商业大厦地处北京商务中心区(CBD)的核心区,旁边就是被称之为北京第一高楼的中国尊,大厦距离东三环国贸地铁站约800米。目前北京的A股民营公司绝大部分在北京四环甚至五环外办公,仁东控股的办公地点堪称黄金位置。

仁东控股位于正大中心北塔30层。从北塔大厅正门进入并乘坐扶梯才可以到达北塔办公区的电梯间。记者在电梯间外的公司指示牌看到,在北塔办公的知名公司有正大制药集团股份有限公司、北京首钢基金有限公司、中视体育娱乐有限公司、仁东控股,此外还有北京市盈科律师事务所以及中银律师事务所等。

不过,该大厦电梯间需要刷卡方可进入,且电梯间外有大厦物业人员负责访客登记。“仁东控股的楼层我们没有刷卡权限,必须请公司人员下楼接待才能上去。”大厦物业人员告诉记者。记者再次联系仁东控股相关负责人并希望当面采访,但对方依然委婉拒绝。

记者从大厦保安方面获悉,该商业大厦于去年正式交付使用并试运行招商。“27层以上基本是独立楼层办公区,目前入驻率有70%左右,仁东控股在30层,办公面积大约有500平米,他们上班的人员不少。”

控股股东“独善其身”?

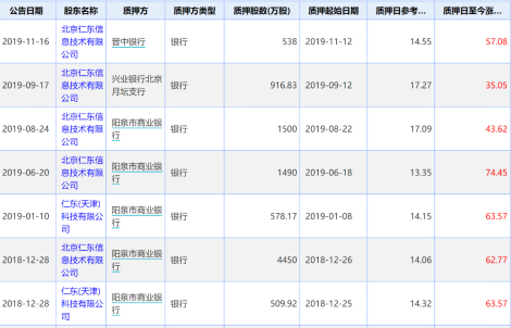
证券时报·e公司记者关注到,即便在仁东控股单边下跌的境况下,依然没有跌破控股股东北京仁东信息技术有限公司(下称“仁东信息”)的持仓成本,且目前仁东及一致行动人处于质押状态的股份也未触及警戒线。

入局并逐步控制上市公司的3年来,仁东信息此前一路增持,却在今年公司股价上行期间发生了首次减持行为,累计套现超2亿元。

不仅如此,今年以来,实控人霍东对外投资动作频繁,曾参与垃圾分类龙头小黄狗科技公司的重组项目,并筹划入主*ST华讯。

作为庆华集团霍氏家族二代的代表人物及仁东集团掌门人,霍东的实力不可谓不雄厚。公开资料显示,霍东收购仁东控股的出资主要来自于个人及家庭积累。其母亲霍秀珍女士家族早年在宁夏、内蒙古等地长期从事能源开发、加工等业务,岳母张淑艳女士长期参与国内大中型房地产开发项目,控股某大型房地产开发公司,此外还投资了境内多家公司,同样具备一定的资金实力。

2017年,霍东通过旗下正东致远(天津)实业有限公司受让李云端持有的仁东(天津)科技有限公司(下称“仁东科技”)100%股权,间接持有上市公司(时名“民盛金科”)5.27%股份,耗资5.05亿元。

2018年初,霍东通过云驱科技(后更名为“仁东信息”)以13亿元受让张永东旗下阿拉山口市民众创新股权投资有限合伙企业10.77%股权,并获得景华及一致行动人13.82%表决权,成为仁东控股新任实际控制人。

2019年,仁东信息解除与景华及一致行动人的表决权委托协议,并耗资7.85亿元受让和柚技术持有的上市公司10.97%股权。

除定向受让股权外,仁东信息还在二级市场进行多次增持,据不完全测算,2018、2019年度,累计增持比例达2.8%,耗资约2亿元。

增持的步伐在2020年戛然而止,伴随着国资入主的利好,仁东控股走出了一波牛股行情,仁东信息的减持接踵而至。

据公开信息,今年5月-9月,仁东信息通过二级市场累计卖出658万股,按照区间均价测算,累计减持金额超2亿元。

综上,霍东对仁东控股的总持股成本大概在28亿元左右,扣除今年减持已套现的2亿元,目前持仓对应的持股成本约为26亿元。数据显示,霍东旗下公司的最新持股为1.6亿股,按照12月8日收盘价20.98元/股测算,市值为33.78亿元,相较成本价仍有约30%的浮盈。

一般来所,股价单边下跌往往容易引发股权质押风险,不过对于霍东而言,这些尚在可控范围内。目前仁东信息及一致行动人尚有9983万股股份处于质押状态,占其所持股份比例的62%。虽然质押比例已超6成,但由于质押时点股价较低,目前相关股份尚未触及预警线。业内人士表示,若按4折的质押率,取质押时点的最高股价17.27元/股计算,强制平仓线大概在9元左右,目前股价距离平仓线还有一段距离。

在高度把控对仁东控股投资风险的同时,霍东今年以来在其他方向的投资依然没有停滞。

公开资料显示,今年年初,仁东集团拟通过增资及受让股权的方式取得华讯方舟科技有限公司51%股权,从而间接控制*ST华讯(000687)。不过,目前相关事项尚未取得实质性进展;仁东集团还与中植集团、晶和实业集团参与了垃圾分类龙头小黄狗科技有限公司的重组事项,目前持有小黄狗的母公司小精灵(天津)环保科技30%股份。

另外,今年9月,仁东集团还参股了繁星未来文化传播(北京)有限公司,持股比例达10%。该公司股东可谓星光熠熠,其中包括歌手胡海泉、北京考拉昆略互联网产业投资基金(有限合伙),后者股东阵容涵盖拉卡拉(300773)、拓尔思(300229)、蓝色光标(300058)、联想控股(03369.HK)等上市公司。

经营风险凸显

仁东控股主营业务为第三方支付、商业保理、供应链管理、金融科技产品研发等,其中第三方支付业务营收占比超60%,毛利率却只有11.44%。进入2020年,受疫情等多重因素影响,仁东控股经营业绩出现亏损。公司发布的2020年三季报显示,今年前三季度,实现营业收入17.54亿元,同比增长89.77%,净利润亏损2192万元。

除经营业绩下滑外,仁东控股发布的贷款逾期、国资离场的消息似乎成为了在本轮下跌行情开启的“导火索”。

10月30日,仁东控股公告称,今年以来受宏观经济环境和新冠疫情的影响,公司流动资金较为紧张,因此发生兴业银行3.5亿短期贷款本金未能如期偿还的情形。根据公告内容,上述贷款系去年10月份发放,贷款期限为1年,因公司未达续贷条件,需按时偿付本金,但目前公司流动资金已无力支付上述贷款。

截至2020年10月25日,公司货币资金合计13.65亿元,其中受限的货币资金13.14亿元。仁东控股表示,由于多元金融行业的特点,公司主营业务拓展需要较多的资金支持,但目前公司融资渠道相对较为单一,主要依赖银行等金融机构。

证券时报·e公司记者关注到,就在仁东控股股价下跌前夕,公司控制权刚刚发生了控制权变更。根据公告,11月18日,原控股股东仁东信息及一致行动人与北京海淀科技金融资本控股集团股份有限公司的表决权委托及一致行动协议终止,意味着被北京海淀区国资委入主一年后,仁东控股实控权又重回自然人霍东手中。市场人士认为,公司股价上涨开启于与国资“联姻”,而没有了“国资”光环,热捧度随之下降也在情理之中。

不仅如此,仁东控股还被卷入了一起担保金额达15亿元的担保诉讼纠纷。

公司公告显示,因“大业信托·盛鑫17号单一资金信托合同”到期,晋中市榆糧粮油贸易未能偿还贷款本息,潞城农商行对晋中市榆糧粮油贸易、仁东控股等多家担保方提起诉讼。虽然任东控股表示对上述担保并不知情,但目前此案尚处于向法院提交证据、委托鉴定等环节,在一定程度上对公司融资造成影响。

截至三季度末,公司流动负债达23亿元,其中金融机构借款本息6.41亿;经营性负债3.32亿;其他流动负债13.27亿,三个月到期的流动负债为8.15亿。

加载中...