新浪财经

威尔士健身“超卖年卡”模式存隐患:两年内消费法律纠纷上百起

中国网

关注

原标题:威尔士健身“超卖年卡”模式存隐患:两年内消费法律纠纷上百起 屡遭行政处罚

来源:中国网财经

中国网财经9月27日讯 (记者 宗高 见习记者 谭梦桐)近年来,预付消费模式一直广受人们诟病,健身、美发等行业一直是该模式的重灾区,经营者卷款跑路等违法行为已司空见惯,疫情下更甚。

近日,中国网财经记者接到消费者投诉威尔士健身称,在转让会员卡时被强制要求加收差价,但合同中并未提及。对此,威尔士健身相关负责人在接受记者采访时表示,续会转让对象不是会员会出现“差价”,威尔士健身现已对该消费者进行免费转让。

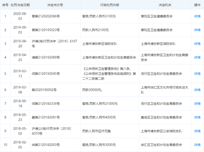
记者发现,上述消费者投诉并非个例,近年来消费者因退卡遇阻等问题对威尔士健身投诉已屡见不鲜。同时,威尔士健身在健身行业中虽以高端定位自居,近年来却屡遭行政处罚。两年间因“未取得公共场所卫生许可证擅自营业”、 “安排未获得有效健康合格证明的从业人员从事直接为顾客服务工作”等处罚原因被行政处罚10次。

对此,著名经济学家宋清辉在接受中国网财经记者采访时表示,像威尔士健身这种超卖年卡(预付卡)模式一旦商家经营行为不规范、售后服务不到位,容易导致消费纠纷。他们主要为了锁定客户,谋求自身利益最大化。宋清辉还坦言,这种模式前景难言乐观,消费者需要加倍谨慎。

会员转卡被要求“额外收费”

两年内与消费者法律纠纷上百起

上述消费者肖宇(化名)介绍,2019年会籍顾问以“未来会员卡价格上涨”、“首次转让会员卡免费政策”等理由,劝说肖宇办理10年+5年的续费合同。

今年9月初,当肖宇要办理转让会员卡时,被告知需要加收2700元差价费。当时,威尔士健身工作人员解释,肖宇续费时是按老会员优惠价办理的,转卡只能转给新会员,且需把优惠价格补上。对于上述解释,肖宇并未在合同中找到相应条款。

“有任何附带隐藏条款,你们应该在我续卡时及时提醒及解说”,肖宇对上述解释提出质疑时,工作人员又称活动卡不会体现在合同上。在多次维权无果后,肖宇通过抖音渠道进行维权,最终免费办理了转卡。

针对该消费者遇到的情况,威尔士健身相关负责人在接受中国网财经记者采访时表示,会员对前一份合约进行续会,续会合约表明可以免费转让。但续会本身存在一定的优惠,如果转让对象不是会员的确会出现“差价”。目前,威尔士健身已决定对所有类似事件进行免费转让。

“我们正在做价格全透明的转型,会在各大电商平台公开我们的价格 ,将选择权真正的交给消费者,产品回归服务本质。”该负责人还表示。

肖宇的案例并非个例,近年来消费者因转卡、退卡遇阻对威尔士健身投诉已屡见不鲜。

据报道今年8月,重庆陈先生因生病向威尔士提出退卡,但历时8个月未收到退款。陈先生的威尔士会籍合同显示:会籍合同生效后,如会员单方面提出解除合同,则视作违约,须按照剩余会籍费用的30%支付违约金。

重庆原驰律师事务所律师在接受媒体采访时表示,得重病是意外事件,陈先生不存在任何过错,威尔仕健身会所也不存在任何过错。双方均不承担违约责任,应按照公平原则,扣除陈先生2019年6月至10月期间在威尔仕健身的实际消费金额后,把余额退还给陈先生,或者由双方另行协商更换其他不剧烈的、温和的健身项目。

不过陈律师也表示,威尔士健身解除会籍合同,从2019年11月拖延到2020年8月长达10个月时间,办事效率过慢。面对陈先生的遭遇,消费者们应引以为戒。

天眼查显示,两年内威尔士经营主体威康健身管理咨询(上海)有限公司与消费者间,服务合同纠纷、生命权、健康权、身体权纠纷多达上百起。

威尔士健身成立于1996年。截至2020年9月,在全国10个城市拥有超过150家会所,会员达60万。2018年11月威尔士健身被LVMH旗下基金L Catterton收购。

超卖年卡模式谋求企业自身利益最大化

专家:前景难言乐观

中消协在2019年3月发布的《预付式消费舆情报告》中提及,近年来,预付式消费问题呈现出隐蔽性、恶劣性、群体性等特点。有消费者坦言,威尔士健身屡屡出现退卡退费难,与其会员卡的预付卡性质息息相关。

据此前有媒体报道,有消费者2019年12月在威尔士健身环球港分店在会籍顾问的诱导下办理了一张年限长达17年的健身卡,并为此以信用卡12期分期的形式付款35087元。

对于健身房惯用的超卖年卡(预付卡)模式,著名经济学家宋清辉在接受中国网财经记者采访时表示,像威尔士健身房仍采用超卖年卡模式的原因有很多,最主要的还是为了锁定客户,谋求自身利益最大化,同时也可能涉嫌逃税嫌疑。

长城证券也曾在研报中指出,为尽快收回前期的巨大投资,传统健身房倾向选择超卖年卡的商业模式,即新店落地后,制定较高的零售价格同时推出价格低廉的年卡,超卖年卡形成大量预收款,用预收款再拓展新店,从而陷入惯性循环。

“这种模式难言乐观,消费者需要加倍谨慎。” 对于超卖年卡模式的前景,宋清辉坦言,一般而言商家租赁的经营场所很少有十年期限的,到期后也可能面临经营场所难以为继等不确定因素。

宋清辉还谈到,近年来由预付卡导致的消费纠纷众多,避免此类现象发生并非易事,一方面需要企业完善管理上的漏洞,另外一方面需要进一步加强监管,督促发行预付卡的企业完成备案,以最大限度保护消费者利益。

不过近年来,针对预付卡消费领域出现的乱象与纠纷,许多地区开始出台地方性规范文件进行规范。

2018年5月1日,《浙江省实施<中华人民共和国消费者权益保护法>办法》实施,要求预付卡最高不能超5000元;2019年1月1日起上海开始实施《上海市单用途预付消费卡管理规定》;北京市也于2019年底发布《关于加强预付式消费市场管理的意见(征求意见稿)》等规范预付费消费的文件。

定位高端 却因卫生等问题屡遭行政处罚

除了超卖年卡(预付卡)模式,近年来定位高端健身会所的威尔士健身,屡遭行政处罚。天眼查显示,威尔士健身经营主体威康健身管理咨询(上海)有限公司两年间因“未取得公共场所卫生许可证擅自营业”、“消防设施未保持完好有效”、“安排未获得有效健康合格证明的从业人员从事直接为顾客服务工作”、“未经批准擅自经营高危险性体育项目”等处罚原因被行政处罚10次。

今年7月,上海市长宁区卫生健康委公示游泳场所第一阶段随机监督抽查结果显示,威康健身管理咨询(上海)有限公司长宁分公司存在问题“水质(尿素)不合格处罚(传染病)”,接受整改;2019年,威尔士健身还曾因未保证经营期间具有不低于规定数量救助人员且逾期未改、安排未获得有效健康合格证明的从业人员从事直接为顾客服务工作等原因,被屡次处罚。

“这是对消费者切身利益的漠视,威尔士健身需要改善经营模式、加强管理,逐渐整治和预防这些情况的发生。”宋清辉对威尔士健身屡遭行政处罚评价道。“预付卡消费属于先付款后消费,一旦商家经营行为不规范、售后服务不到位,就容易导致消费纠纷。”

针对消费者“退卡难”及可能存在的卫生安全隐患等相关问题,记者向威康健身管理咨询(上海)有限公司发送了采访函,截至发稿,威尔士健身相关负责人并未就此部分问题给予回复。

加载中...