新浪财经

租房新骗局:长租公司高价收房低价出租,重庆首资、成都巢客被曝“跑路”

消费者报道

关注

按:

从“二手房东”手上租房需万分小心。

随着租赁市场的发展,长租公寓越来越受房东与租客的欢迎,他们都是以“高收低出”(向房东以高租金来收房,却低租金向租客出售)的模式进行运营,也就是大家所讲的“二手房东”,看似赔本的买卖背后有什么猫腻?

最近,众多长租企业频频“跑路”。房东收到不租金,租客缴纳了一年的房租却打了水漂,随之面临着被房东扫地出门的现象屡见不鲜。

租客如约缴纳半年房租 房东却未收到租金

“我刚住进来一个多月,房东就找上门来说不能住了,让我15天内搬出去。”刘茵(化名)对《消费者报道》说。

8月7日,房东上门告知刘茵房子不能住了,因为中介已经跑路,导致房东没有收到租金。这是刘茵与房东的第二次碰面。

据了解,这是刘茵在一个月前通过安居客找到的出租房。因为租金比其他地方的出租屋便宜,于是在看房当天就直接租了下来,租金为2000元一个月,需一次性缴纳半年的租金给成都首资科技有限公司(以下简称“成都首资”)。“当时房东还来过,也知道我们要租这个房子。”刘茵对《消费者报道》说。

刘茵回忆称,房东告知中介(成都首资跑路的第二天又再次上门,表示他们没有收到房租,需要将房屋收回。“房东当时是想让我们搬出去的,但是我说我们交了租金,现在也没钱找房子,搬走不可能。于是房东报了警,警察同志过来调解,说是成都首资没给房东租金,对房东违约,房东有权追责成都首资,而我们(租客)这边交了钱,签了合同,可以继续居住。”刘茵认为,租房的时候已经签了合同,是有法律效力的,现在是中介对房东构成合同诈骗。

据了解,房东与成都首资签订的是委托合同,租客与成都首资签订的是租赁合同。

“法院判租客搬,我们这边就立马搬。但是房东说合同不生效,不配合协商。”刘茵无奈地对《消费者报道》说,“之后的联系中房东让我们在未收到租金的15天内搬出去,还自己弄了个回收房租的合同。”

按要求一次性缴纳了租金,房东却没有收到,这让刘茵非常头疼。“房东已经断了我几天的电了,我和房东说要等结果出来再商议。警察也说了要等结果出来,没出来前房东不能赶走租客。但房东一意孤行,说找人在8月30日那天强行让我搬出去。”

无独有偶,位于重庆的徐洋(化名)也遭遇了同样的情况。据了解,徐洋已向重庆首资科技有限公司(以下称“重庆首资”)缴纳了一年的房租,月租1000元,押一付十二,共缴纳了13000元。

《房屋租赁合同》

“我住了两个月,房东突然找我说重庆首资那边没给她打房租的钱,她要收回房子。如果要继续住下去的话,就要我按照房东和中介签约内容上的房租价格给她打钱,然后重新签订合同。据我了解,房东每个月收到的租金比我给中介的房租高400元。”徐洋告诉《消费者报道》,房东给了一周的时间考虑,如果不付房租和物业费就只能在月底之前搬出去。

长租企业跑路,房东和租客怎么办?

当租客遇到了长租企业跑路,导致房东收不到房租,那租客与长租企业签订的租赁合同是否具有法律效力?租客可以根据合同时间继续居住吗?对此,《消费者报道》采访了法律从业者郭小明。郭小明认为只要签订合同时是双方的真实意思表示,并且也符合合同法规定的形式和实质要件,那么长租企业跑路,合同仍然是有效的,具有法律效力。

由于房东与长租企业签订的是委托合同,长租企业与租客签订租赁合同就代表房东的意思表示,在本质上仍然是房东和租客之间的合同关系,长租企业对租客行为的权利义务,应由房东承担。在这种情况下,长租企业跑路,房东没收到租金,是有权解除合同收回房子的,当然,房东和长租企业之间有合同关系,房东也可以要求长租企业支付租金。而对于租客来说,在被房东收回房子后,可以向长租企业主张违约责任,要求继续履行或者赔偿损失。

长租企业频频暴雷 警惕“高收低出”租房骗局

《消费者报道》了解到,类似长租房跑路的投诉早已屡见不鲜。除了重庆首资和成都首资之外,巢客遇家(成都)科技有限公司(以下简称“巢客”)也因房东收不到房租、租客无法继续入住的问题遭到消费者投诉。他们都是以“高收低出”的模式进行运营,租赁时间一般为一年。

中研普华研究员邹志丹在接受《消费者报道》采访时表示,长租企业频频暴雷,一方面体现市场竞争后部分中小长租公寓资金链断裂,举步维艰;另一方面,长租企业利用人们贪便宜的心理,依靠“长租短付、高收低出”的租房骗局,损害了租客和房东的根本利益,严重打乱了租赁市场的秩序,阻碍了长租公寓行业健康发展。

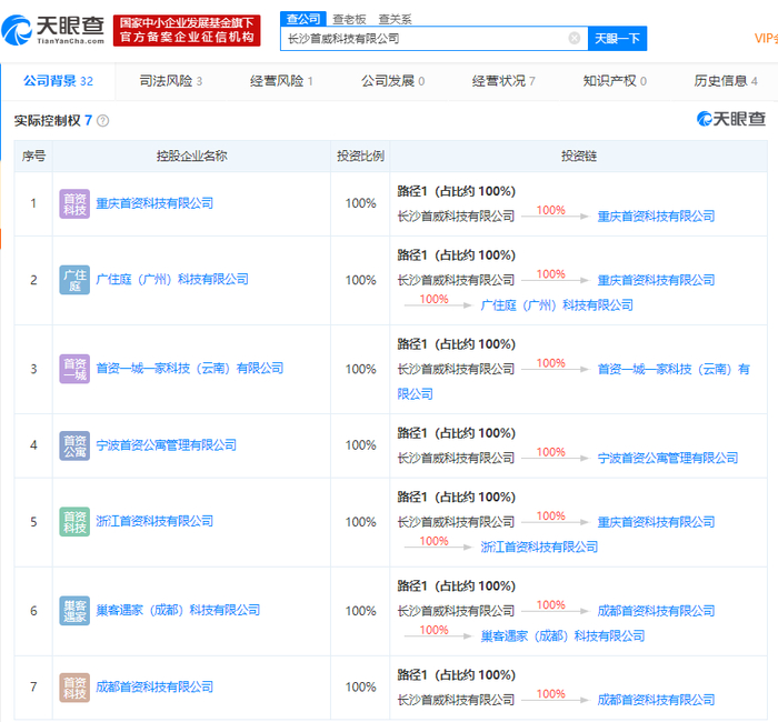
值得注意的是,重庆首资科技公司成立于2019年12月,由长沙首威科技有限公司100%持股,疑似实际控制人为艾兆璐,最终受益人为张美宇和艾兆璐。此外,该公司对外投资了广住庭(广州)科技有限公司,浙江首资科技有限公司、巢客遇家(成都)科技有限公司宁波首资公寓管理有限公司,张美宇和艾兆璐还在宁波、云南等地开有多家公司。

邹志丹表示,在行业发展初期,“高收低出”的模式从运营上看就充满危险,最主要还是靠资金链来支撑市场拓展,很多中小型长租公寓运营商没有技术和资本优势,盲目扩张,在市场不景气的阶段就造成爆雷,更有甚者,以空手套白狼的形式套取大量贷款资金用于自身发展,利用法律盲区侵犯租客和房东的权益,把风险转移给房东和租客以及全社会,而把所有的利益留给自己。

受新冠肺炎疫情的影响短期供大于求的趋势越发明显,并且市场遇到三降:开业规模减少,租金下降,租客需求减少。因此市场未来需要高度警惕“高收低出”模式,这很可能会继续出现一系列爆雷事件,不仅损害供需双方的利益,也会给行业造成不好的影响。

杭州租房新规:存量托管房源应缴30%风险防控金

8月17日,杭州市住房保障和房产管理局官网17日发布了《关于进一步落实住房租赁资金监管相关工作的通知》称,2020年9月30日前,“托管式”住房租赁企业对2020年新增委托房源,应将对应房源的风险防控金缴交到位;对存量委托房源,应缴交风险防控金30%,剩余风险防控金缴纳时间按规定顺延执行。

邹志丹认为,首先这是一项针对租赁行业的市场风险防控的地方性政策,对全国各地陆续出台规范性政策文件具有示范作用,对租赁业发展具有指导性意义;其次,能有效规避这两年因为长租公寓种种爆雷事件牵扯到的资金问题,能够控制好运营商收钱后的合理用途,限制违规非法套取资金谋取私利的行为,以资金存管的方式体现了政府力求对行业的监管。

加载中...