新浪财经

华为超重磅动作:鸿蒙OS真的要来了 A股小伙伴先嗨了

新浪财经

关注

大咖在线互动直播:牛市来了吗?风格切换了吗?

风格切换了吗?|张玉龙:曲折复苏风格切换,金融周期优势重现

风格切换了吗?|樊继拓:资金驱动,消费泡沫化

信弘天禾铁文龙:FOF打破资产荒,大类资产不可忽视的新标配

风格切换了吗?|张夏:重估与分化:权益大时代的投资主线

易方达基金成曦:创业板投资趋势分析

首席经济学家杨成长、邵宇:创业板改革对要素市场改革有何意义?

风格切换了吗?|陈果:新高之后,再论复苏牛

博时基金金晟哲:乘风破浪突破3000点,牛市来了吗?

原标题:华为超重磅动作!鸿蒙OS真的要来了,A股小伙伴先嗨了

中国基金报记者 李智

华为又有大动作!鸿蒙OS真的要来了?

近日,华为申请了大量与“HarmonyOS”有关的商标,有消息称,搭载鸿蒙OS的终端产品或于不久后发布。对此,华为回应道:“申请商标只是正常的商业流程。”

搭载鸿蒙系统的移动设备何时上市,一直是业内关注的焦点问题,如今“鸿蒙OS”进一步推进,更是点燃了众多“花粉”的热情。

鸿蒙OS又有新进展

将适配多终端设备

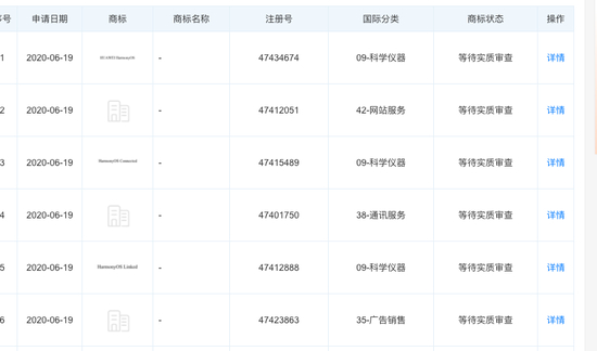
据天眼查数据显示,华为技术有限公司近日申请了大量与“HarmonyOS”有关的商标,包括HUAWEI HarmonyOS、HarmonyOS Connected 与 HarmonyOS Linked等。

早在去年8月的华为2019年开发者大会上,华为便发布了其全新的基于微内核的面向全场景的分布式操作系统——鸿蒙OS,英文名为HarmonyOS,当时在业内引起了不小的轰动。

据悉,鸿蒙OS是一款“面向未来”的操作系统,一款基于微内核的面向全场景的分布式操作系统,它将适配手机、平板、电视、智能汽车、可穿戴设备等多终端设备。这一系统为开发者提供了可以实现“一次开发、多端部署”的高效开发工具,共同为消费者打造全场景智慧化的极致体验。华为消费者业务CEO余承东当时还透露到,方舟编译器未来将支持多语言统一编译。

去年8月底,华为方舟编译器开源官网正式上线,并首次开放了框架源码,标志着鸿蒙OS启动开源第一步。DevCloud华为云软件开发服务CTO谈宗玮曾表示:“移动应用不仅涉及移动端和服务端开发,在上线后还将面临运营维护等方面的压力,将华为云DevCloud及华为云CDN、RDS等基础服务能力与华为终端应用市场的能力进行结合,可以为移动应用开发者提供覆盖开发、部署、分发、运营等全生命周期能力支撑的一站式支撑平台。”

自华为鸿蒙操作系统发布后,一直以来鸿蒙搭载移动设备何时上市是通讯界关注的焦点问题。近日有媒体报道称,华为有望最快在9月份发布旗舰机Mate40系列,搭载麒麟1020芯片,运行鸿蒙OS 2.0的Mate Watch智能手表或同时发布。另有消息人士透露,在这之前,鸿蒙系统已经被用在了华为系的智慧屏、路由器、笔记本、平板等多款产品上。

按照之前公布的计划图来看,鸿蒙1.0系统用于华为、荣耀智慧屏产品,2020年会有鸿蒙2.0系统,落地产品包括创新国产PC、手表/手环、车机。2021年会有鸿蒙OS 3.0,主要用于音箱、耳机,2022年用于VR眼镜等更多设备。

至于鸿蒙系统手机,余承东之前已经多次表态,安卓系统如果不能使用,华为将安卓系统迁移到鸿蒙OS非常便捷,只需1-2天即可实现。但考虑到生态和合作伙伴我们手机会优先安卓系统,不过目前鸿蒙系统已经在华为手机上测试完成,且达到了商用的水平。

对于今年的计划,华为将全力打造HMS生态,并形成“自研芯片+鸿蒙OS”的新体系。余承东之前表示,华为HMS生态目前仅次于安卓、iOS,全球排名前三,而随着接下里的持续发展,未来华为HMS有望成为全球市场上用户最受欢迎的生态系统,而生态中集成的应用市场是谷歌Play、苹果iOS之后全球第三大应用商店。

华为概念股表现亮眼

中国软件、华工科技封板涨停

在鸿蒙OS不断传来好消息之时,A股中的华为相关概念股也表现亮眼。

7月8日,华为概念指数上演了大V行情,在上涨之后快速下跌,一度下探到跌0.68%,不过随后拉升,截至发稿,涨1.80%,报1572.58点。另外,华为鲲鹏指数涨3.04%、华为HMS指数上涨2.31%。

相关概念股中中国软件(600536)率先封板涨停,股价创历史新高。据悉,麒麟可信操作系统是国内首款自主和高安全等级的可信操作系统,中国Linux市场占有率第一。银河麒麟服务器OS是当前市面上最具竞争力的操作系统产品,有望在党政和行业口均占据第一市场份额。

午后,华工科技也实现涨停。领益智造、东方通、长亮科技分别上涨9.49%、8.21%、8.20%,拓斯达、风华高科、超图软件等跟涨。

与华为鸿蒙系统相关的上市公司还有中科创达(300596),据悉,中科创达致力于提供卓越的智能终端操作系统平台技术及解决方案,助力并加速智能手机、智能物联网、智能汽车等领域的产品化与技术创新。同时,与智能终端产业链中的芯片、元器件、终端、软件与互联网厂商以及运营商等全球领先企业拥有紧密的合作关系,具有独特的垂直整合优势。此前公司表示,是华为仅有的几家专业研发供应商之一,与华为在多个领域均有合作,与华为鸿蒙操作系统是合作关系。

今日,中科创达股价表现较为震荡,盘中由跌转涨一度涨超3.5%,截至午间收盘涨1.21%,报86.99元,最新总市值为350亿元。

与此同时,华为的热门概念股还包括常山北明、中国长城、工业富联、立讯精密等。其中延华智能此前表示,公司现有的部分软件产品适配鸿蒙系统。未来根据市场需要,公司会继续关注自身研发产品与鸿蒙系统的适配问题。

常山北明是华为战略合作伙伴+ISV(独立软件开发商)合作伙伴,华为向公司购买应用解决方案。而中国长城目前是唯一能够做到从芯片、整机、操作系统、中间件、数据库、安全产品到应用系统等计算机信息技术各方面完全自主可控且产品线完整的上市公司。

华为可穿戴设备跃居国内第一

全球排名第二

对于华为鸿蒙操作系统,华创证券研报认为,该系统打通了手机、电脑、平板、电视、汽车和智能穿戴等设备,统一成一个操作系统,兼容全部安卓应用和Web应用,据称比安卓速度快60%。在美国禁令卡脖子背景下,国产替代大势所趋,华为鸿蒙也是应势而生,参与其中的相关公司将受益。

国盛证券认为,鸿蒙的技术特征:微内核、方舟静态编译器、EROFS文件系统。预计鸿蒙系统将采用微内核架构提升系统稳定性,借助方舟编译器提升鸿蒙性能,通过EROFS稳健系统从系统底层提升系统流畅度,三大底层技术支持与业界重量级人物领衔为鸿蒙的面世保驾护航。鸿蒙未来成功与否,关键在于鸿蒙生态的建立,早期入局者具有先发优势。

另外值得一提的是,华为在可穿戴设备领域一直处于高速发展。根据IDC发布的2020年第一季度全球可穿戴设备市场报告,华为占据市场主要份额,继续保持快速增长,其增速达62.2%。从智能手表(含智能手表和轻智能手表)细分市场看,华为排名第二,出货量为260万部,同比增长118.5%,是所有厂商中唯一一个增速超过100%的智能手表品牌。

光大证券认为,伴随疫情缓解、5G手机上量,手机供应链在量价两方面存在边际改善机会,但整体景气度尚未全面复苏,寻找结构性增长机会需优选创新赛道、考量客户结构多元化以及平台型公司横向扩张机会。2020年全年手机出货下滑,国内外疫情相继缓解有望驱动三季度出货向上拐点。

同时光大证券指出,长期看国产替代,全面自主可控。对于华为或者科技产业链国产替代需划分为三类进行讨论,第一,零部件供应链:高端芯片仍对美国有较大外依存度,需扶持国产芯片供应商,提升国产化率;第二,自研芯片产业链:芯片产业高度分工,上游EDA、IP、代工、设备有可能产生影响,需大力扶持上游国产厂商,实现国产替代;第三,操作系统:电子产品是软件硬件结合高度紧密的应用生态,需大力发展操作系统,建立国产软件应用生态。

加载中...