新浪财经

瑞丽航空董事长被限制消费

民航资源网

关注

原标题:瑞丽航空董事长被限制消费 来源:民航资源网

根据天眼查的信息显示:

2020年6月18日,昆明市中级人民法院对瑞丽航空董事长董世杰下达了限制消费令。

昆明市中级人民法院限制消费令(2020)云01执588号的内容如下:

2020年05月19日,浙江亚厦装饰公司申请执行瑞丽航空建设工程合同纠纷一案,因瑞丽航空未执行相关给付义务,昆明市中级人民法院对瑞丽航空采取限制消费措施,限制瑞丽航空法定代表人董世杰不得实施以下高消费及非生活和工作必需的消费行为:

1.乘坐交通工具时,选择飞机、列车软卧、轮船二等以上舱位;

2.在星级以上宾馆、酒店、夜总会、高尔夫球场等场所进行高消费;

3.购买不动产或者新建、扩建、高档装修房屋;

4.租赁高档写字楼、宾馆、公寓等场所办公;

5.购买非经营必需车辆;

6.旅游、度假;

7.子女就读高收费私立学校;

8.支付高额保费购买保险理财产品;

9.乘坐G字头动车组列车全部座位、其他动车组列车一等以上座位等其他非生活和工作必需的消费行为。

瑞丽航空地处云南,主基地在昆明,给人感觉一直较为神秘。

在2013年民航局重启新设航空公司以来,各地加快了成立航空公司的步伐。

01

瑞丽航空往事

2012年,随着《国务院关于促进民航业发展的若干意见》的出台,地方政府看到了借力航空业实现地方产业升级的新机遇,看似坚冰一块的航空运输业再次重开大门。

在这方面,地面交通不太发达的云南德宏州对航空显然比其他地方更为渴求。

2012年8月28日,云南德宏州政府成立“航空产业发展工作领导小组”,州长担任组长,董勒成为副组长。

2012年底,集团经民航西南地区管理局审核向中国民用航空局上报“瑞丽航空有限公司”筹建报告。

2013年5月6日,民航局发布了《关于拟批准瑞丽航空有限公司筹建的公示》,主要内容如下:

1.投资人及其出资方式、比例

注册资本为人民币6亿元,云南景成集团有限公司以现金出资人民币6亿元,占注册资本的100%。

2.筹建、飞行及机务负责人

筹建负责人:马占炜。

飞行负责人:舒发相。

机务负责人:王俊学。

3.企业类型

有限责任公司

4.基地机场

昆明长水国际机场

5.拟批准的经营范围

国内航空客货运输业务。

6.拟使用的航空器

B737-700或800型飞机

7.专业技术人员来源

公司组建初期,飞行技术人员拟从四川航空集团有限责任公司和中国民用航空飞行学院引进,其他机务、签派、乘务等专业技术人员拟采取招聘方式解决。

小编发现,川航集团在国内支持了许多地方组建航空公司。

经过一年筹建,2014年2月10日,瑞丽航空有限公司获得民航局颁发的《公共航空运输企业经营许可证》,标志着该公司正式成立。

公司IATA/ICAO代码: DR/RLH

无线电呼号中文/英文:森地/SENDI

三字结算码: 299

瑞丽航空的股东是在云南德宏的景成集团,其创始人董勒成是德宏州首富,以51亿元人民币财富位列2019年胡润百富榜第816名。

作为创始人,董勒成对发展航空可谓雄心勃勃。

2012年5月份,董勒成公布了其进军航空业的计划:注册“瑞丽航空公司”、“德宏公务机有限公司”等四家航空公司,注册资金11.5亿元;并宣称要五年内投资超过100亿元,拥有30架飞机,并将瑞丽航空打造成全省、全国乃至东南亚优秀航空企业。

2013年8月15日,瑞丽航空与美国波音公司签订了8架波音737-700型客机、6架波音737-800型客机的采购协议;与德国柏林航空签订了2架波音737-700型客机、2架波音737-800型客机的采购协议。

2016年7月,瑞丽航空董事长马占炜与波音民用飞机集团在英国范保罗航展上宣布,完成了6架787-9梦想飞机的订单。

事实上,瑞丽航空在成立初期,发展速度还是比较快的,仅三年的功夫,到2017年就拥有了15架飞机。

客观的讲,云南航空公司众多,如果只算具备独立承运人资格的航空公司,昆明可以说主基地航空公司数量最多,祥鹏航空、昆明航空、瑞丽航空和红土航空,加上份额最高的东航云南公司,昆明航空市场的竞争可谓白热化,昆明主要属于旅游市场,收益品质不高,在这里发展壮大的挑战还是非常之大的。

2017年之后的瑞丽航空已经放缓了发展的速度。

成立前三年引进了15架飞机,而之后的三年也只引进了5架飞机,目前拥有20架B737飞机。

02

瑞丽航空股东的变化

瑞丽航空的注册资本为6亿元,当时云南景成集团为独资股东。

2014年1月,著名的中植系控制下的中融国际信托有限公司对瑞丽航空增资4亿元,占股40%。

2016年1月,中融国际退出,由云南景成旗下的云南景成路桥建筑工程有限公司接手其股权。

2016年2月,瑞丽航空又重新成为云南景成集团的全资子公司。

2017年3月,筹建瑞丽航空的马占炜不再担任董事长,由董世杰接任董事长、法定代表人。

2017年8月,瑞丽航空股东再度变更,云南景成集团持股7亿元,占70%;董勒成持股3亿元,占30%。

03

瑞丽航空遭遇的法律纠纷

进入2020年以来,民航业遭遇疫情冲击,亏损情况较为严重。

瑞丽航空作为一家小型航空公司,遭遇的压力应该也不小。

根据天眼查信息显示,自2020年以来,瑞丽航空遭遇多起法律纠纷:

有与飞机租赁公司的租赁纠纷,有与普洱云中茶服务公司的合同纠纷,有与装潢公司款项纠纷,也有与个人之间的民间借贷纠纷。

此次瑞丽航空法定代表人被限制消费就是源于装潢合同的支付执行所引致,2020年5月19日,瑞丽航空被纳入被执行人,执行标的高达1.35亿元。

因为未能执行相关给付义务,法律对瑞丽航空法定代表人实施限制消费。

此外飞机租赁公司如完美十三号(天津)飞机租赁有限公司起诉瑞丽航空的主要原因,也是由于未能及时提供3000万元保函以及相关飞机租金。

作为一家民营航空公司,在初创阶段为了加快发展,加上航空公司又需要大量资金投入,因此出现资金压力也是很正常的一件事。

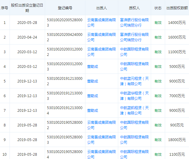
自2019年5月底以来,瑞丽航空的股权几乎全部质押,其中:

董勒成出质3亿元的股权。

云南景成集团出质6.1亿元的股权。

质押对象为三家公司:中航蓝元租赁、中航国际租赁、富滇银行。

以小编分析,质押给银行和租赁公司,应该是主要为了引进飞机支持瑞丽航空发展。

说实话,民营航空公司着实不易,规模领先的如春秋、吉祥航空也是经过多年的磨炼与竞争才脱颖而出,并取得今天的成绩。

像瑞丽航空这样的民营航空公司,也具备了一定规模,好不容易要进入了快速发展阶段,又遭遇到疫情的冲击。

民航业是资本密集型行业,说句不好听的,就是用钱堆起来的。

如果没有足够的实力,在疫情的冲击下,加上地处云南这样旅游省份,瑞丽航空遭遇的难度可想而知。

不过,只有遭遇过危机并能够生存下来,而且能活得更好的企业,将来才会取得更大的发展。

在此,也祝福瑞丽航空,祝福民营航空公司的守望者们,祝越飞越高。

加载中...