新浪财经

海南工商注册小贷总量暴增 2020年新设数量占超全国8成

蓝鲸财经

关注

  原标题:海南工商注册小贷总量暴增,2020年新设数量占超全国8成,有公司在当地批量注册

作者:金子琪

工商信息显示,近几个月来,数百家小额贷款公司在海南省注册成立。

据天眼查数据统计,截至5月12日,2020年,在全国范围内,工商注册小额贷款企业约340家,注册地为海南省的超300家。与此同时,2019年,海南全省疑无新设小贷公司,2018年数量显示也仅一家。

值得注意的是,2020年新工商注册的海南省小贷公司背后,数家都关联同一股东。

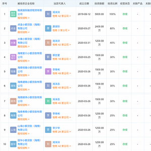
其中,深圳市深通数据管理有限公司(下称 “深通数据”)就投资了9家,包括海南道铭小额贷款有限公司等,法人信息也多有重合,注册时间均在一周之内。

天眼查显示,深通数据由深圳市中航国际企业管理有限公司(下称 “中航集团”)间接持股。中航集团官网介绍,公司成立于2008年,是金融牌照服务专家,服务包括公司转让、资质代办等。

公司的转让服务涉及消费金融、征信牌照、第三方支付,也包括小额贷款、互联网小贷行业等,此外还提供财税等服务。中航集团官微显示,申通、怡亚通、链家、华润万家、万科等曾选择中航集团,疑为其客户。

深通数据参股的国华小贷(海南)和山海小贷(海南)背后股东还有深圳千层国际科技有限公司(下称 “千层国际”)。天眼查信息显示,深通数据监事刘洋洋是千层国际法人,也是中航集团投资方,两家存在关联。2020年,千层国际在海南投资了信融小贷(海南)等共12家小额贷款公司。

上述新设小贷资本注册数额,仅有两家达到3000万元。2019年4月,海南省地方金融监督管理局发布海南省小贷公司设立备案办事指南,要求组织形式是有限责任公司的,其注册资本不得低于3000万元;组织形式是股份有限公司的,其注册资本不得低于5000万元。

此外,还有无痕电子竞技(海南)有限公司在上注册了4家小额贷款公司。海南立荣征信服务有限公司注册了两家小贷企业。除海南本土公司外,新注册小贷公司背后股东涉及全国多省。湖南新出发商务信息有限公司上周在海南注册了两家小贷公司。

海南省自2010年开始小额贷款公司试点,第一家小贷公司名为罗牛山小贷。

此后10年,海南省内成立小贷企业数量共百余家,在2017年达到峰值20余家,部分或尚未获金融办批准。在央行统计范围内,2019年9月末,海南省小贷机构数量为57家。

2015年6月,海南省金融办发布,小额贷款企业可直接向工商部门提出注册登记申请,无需再提交省金融办出具的前置批文,改为报备制。

报备制出台后,海南省小额贷款公司数量未显著增加,2017年注册数量超20家,此后两年仅有1家。

国家发展改革委和商务部印发的《市场准入负面清单(2018年版)》第76项规定,未获得许可或资质条件,不得设立融资担保、典当、小额贷款公司、征信机构等相关金融服务机构,非持牌市场主体的名称不能使用“小额贷款”、“再贷款”字样,公司经营范围不能含有小额贷款和再贷款的业务表述。

相较之,就北京等地在2015年发布的小额贷款公司试点实施办法,仍然根据《关于小额贷款公司试点的指导意见》要求,设立小额贷款公司,需经主管部门的审查批准;未经批准,任何公司不得标注“小额贷款”字样。

2019年8月,海南省金融办公告,全省有22家小额贷款公司取得市场监督管理部门办理的营业执照,不具备小额贷款公司试点经营资格。

22家名单中,海南德青小额贷款有限公司关联德邦物流、该公司在2017年决议解散,现已注销;海南神州数字小额贷款有限公司关联神州付(08255.HK),背后股东包括钱袋宝创始人孙江涛;金恪小额贷款(海南)股份有限公司关联P2P蚂米金服,现已注销;酷秀互联网小额贷款(海南)有限公司关联北京中天置地;海南恒生小额贷款有限公司关联汽车金融企业利通汽车。

据披露,上述小贷公司未按监管部门要求提交设立申请备案材料,或材料不符合监管文件要求。

在海南注册的小贷及网络小贷企业包括,新三板小贷海南信源小贷(832905),蚂蚁金服旗下海南中和农信小额贷款有限公司、宜信旗下海南宜信普惠小额贷款有限公司和海南海金宜创小额贷款股份有限公司、中国东方资产旗下海口邦信小额贷款有限公司;海南先锋网信小额贷款有限公司(下称 “海南先锋小贷”)、联合资产旗下海口联合小额贷款有限公司;海航集团下供销大集的海口信航小额贷款有限公司;以及涉非P2P唐小僧旗下资邦(三亚)小额贷款有限公司。

2019年上半年,海南先锋小贷出现亏损,实现营业收入1279.53万元,净亏损107.76万元。上市公司爱施德(002416.SZ)在下半年剥离海南先锋小贷。此外,海南易联普惠互联网小额贷款有限公司(下称 “易联网络小贷”)曾陷入超利贷投诉风波。易联网络小贷公开声明澄清,是不法分子假冒公司之名在从事非法放贷业务。

据央行统计,2019年9月末,海南省有57家小贷机构,从业人数800人全国最低,贷款余额58.53亿,与上季度持平,自2018年6月末持续下滑。

加载中...