新浪财经

6股上涨空间超20% 北上资金和杠杆资金同时加仓它们

新浪财经综合

关注

全球确诊破150万!瑞幸之后,爱奇艺也被盯上,中概股惨遭猎杀,A股有动作,这6股上涨空间超20%,北上资金和杠杆资金同时加仓它们

证券时报  张娟娟 数据宝  

冰火两重天!

美股最近行情可谓是飘忽不定,跌一天涨一天。继上一日下跌后,美国三大股指最新交易日迎来了上涨。截至收盘,道指上涨近800点,涨幅3.44%,纳斯达克指数上涨2.58%,标普500指数上涨3.41%。

美国股指的上涨未能带动中概股,根据收盘数据显示,赴美上市的多只中概股股昨夜表现不佳。易恒健康大跌19.33%,海亮教育大跌18.79%,美联国际教育下跌16.89%,尚德机构跌幅近16%。

事实上,自瑞幸咖啡曝造假后,中概股问题密集爆发,爱奇艺被做空,好未来自曝员工造假。近期中概股遭遇密集做空和财务“自曝”,上海交通大学上海高级金融学院陈欣教授表示,2011年中概股曾爆发了一次信任危机,导致赴美上市公司数量大幅度减少,而这一次瑞幸咖啡造假也可能会造成类似的影响。同时,此次事件对中概股估值也会产生较大的打击。

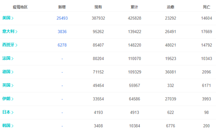
全球累计确诊突破150万

截至北京时间9日3时30分,全球确诊病例达1500830例,死亡病例为87706例。

美国目前确诊病例累计达425828例,死亡病例为14604例;意大利目前死亡病例最多,其死亡病例达17669例,确诊病例为139422例;西班牙确诊病例达148220例,死亡病例为14792例。法国和德国累计确诊也超过10万例。

四分之一的美国人因疫情封锁措施失业或减薪

全美经济调查显示,四分之一的美国人因疫情封锁措施失业或减薪,民众对经济的态度也是以有史以来最大和最快的速度下滑。民意调查发现,有10%的受访者称自己已经失业,16%的人表示,伴随病毒传播的经济停工,他们的工资或薪水有所下降。9%的人认为自己将面临失业或减薪。该民意调查的误差率为3.5个百分点。目前来看,美国的疫情仍然处于不受控制状态,如果继续的话,或许离专家预测的百万例真的不远了。

印度自称疫情将“大规模暴发”

截至当前,印度累计确诊接近5500例,但印度检测严重缺失,真实数据仍是未知数。《印度教徒报》网站4月7日报道,印度卫生部当地时间周一称,印度已经过本地传播阶段,即将进入“需要遏制的大规模暴发阶段”。报道称,印度21天的防控新冠肺炎疫情“封城”期仅剩下一个多星期。目前,印度的确诊病例数96个小时翻一番,疫情已蔓延至全国736个地区中的近300个。

15只次新股近1个月获机构扎堆关注

作为一家公司医药公司,景峰医药已陆续获批上线乙醇消毒液、口罩等防疫物资的生产、销售,竭尽全力为抗击疫情作出应有贡献。自上周五以来,公司连续3日涨停,并且公司于4月8日获得一家机构近1个月首次关注。

机构首次关注股代表意味着这些公司有一些亮点。证券时报·统计显示,近1个月有299股获机构首次关注。

其中,5股获5家以上机构扎堆关注,去年12月份上市的邮储银行获10家机构首次关注,其中浙商证券及中信证券给出了7元以上的目标价;晶澳科技获6家机构扎堆关注,安信证券和东北证券分别给出了15.6元和16元的目标价,公司最新收盘价13.39元。上市半年以上,且获得3家以上机构推荐个股共计15只,除晶澳科技外,中简科技、宇信科技、中信出版3股均获得4家以上机构首次关注。

从业绩来看,机构首次关注股中,有45股发布了2020年一季度业绩预告,其中预喜个股占比超六成,宇信科技、以及3家机构首次关注的奥飞数据、康龙化成一季度业绩均为预增。

6股上涨空间超20%且获聪明资金加仓

机构首次关注个股的上涨空间普遍较高。统计显示,上述199股中上涨空间超20%个股占比近七成,鼎盛新材、得润电子上涨空间更是超过100%,索通发展、智莱科技杰瑞股份等4股均超过75%。

更进一步来看,上涨空间超20%,且4月份以来北上资金、杠杆资金同时加仓个股仅有6只。杠杆资金加仓幅度居首的是均胜电子,上涨空间21.63%,杠杆资金加仓11.46%,北上资金加仓0.16%,均胜电子主营汽车零部件生产销售,涉及特斯拉、机器人等概念,公司近日与微软达成合作;广电运通上涨空间超过30%,杠杆资金加仓9.68%,北上资金加仓0.35%,获北上资金加仓幅度较高,公司为全球客户提供运营服务、大数据解决方案以及各种智能终端设备。太阳纸业达到0.12%,股价上涨空间超过23%,另外中材科技上涨空间接近30%。

 

加载中...