新疆浩源账户6007.5万元资金被法院划扣
有连云
原标题:新疆浩源账户6007.5万元资金被法院划扣 来源:资本邦
1月6日,资本邦讯,新疆浩源(002700.SZ)发布账户被冻结及资金被划扣的公告。
公告显示,新疆浩源天然气股份有限公司工作人员通过网上银行查询,公司的账户被冻结,账户资金被执行划扣。
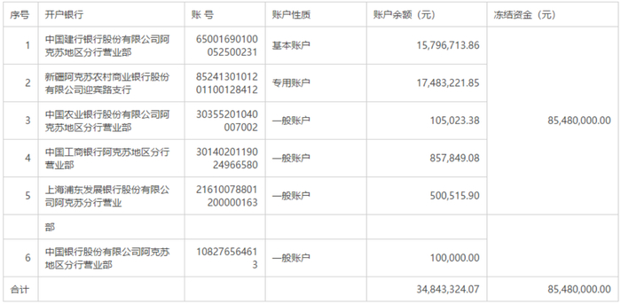
图片来源:公司公告
新疆浩源称,公司财务人员于2019年11月12日收到建设银行短信通知:公司尾号0231(公司基本账户)的账户11月12日最高法院总对总网络扣划支出人民币60,075,079.00元,余额873,951.09元。对方户名:网络司法跨行扣划暂挂款项户。后经询问开户银行得知为乌鲁木齐中级人民法院执行划扣。
新疆浩源关联方新疆友邦数贸贸易有限公司(以下简称“新疆友邦”)在2019年3月28日与新疆广汇实业投资(集团)有限责任公司乌鲁木齐分公司(以下简称“广汇实业”)签订了《钢材采购合同》(合同编号:JTFGS-CG-201903-0010),新疆友邦于同日向广汇实业开具了作为履约担保的8300万元票面金额的商业承兑汇票,新疆浩源向广汇实业出具了《履约担保函》,作为钢材采购合同中新疆友邦的担保人,对新疆友邦的违约行为承担连带保证责任,上述担保事项未履行公司审议程序。
因出票人新疆友邦原因2019年5月27日到期后未能兑付,广汇实业于6月11日向乌鲁木齐市中级人民法院提起诉讼,要求新疆浩源承担连带保证责任。乌鲁木齐市中级人民法院于2019年6月25日发布《新疆维吾尔自治区乌鲁木齐市中级人民法院民事裁定书》[ 新01民初258号]裁定冻结公司银行账户存款85,480,000.00元。
因公司关联方新疆友邦未能偿还广汇实业的欠款,乌鲁木齐市中级人民法院于2019年11月12日按 新01执473号文件扣划公司银行基本户建设银行账户人民币60,075,079.00元。
新疆浩源表示,公司六个银行账户资金被冻结,其他银行账户资金并未被冻结,公司经营活动能正常开展,不会对公司产生较大影响。关联方新疆友邦承诺将在2020年2月8日前归还占用资金及利息。
头图来源:123RF
转载声明:本文为资本邦原创稿件,转载需注明出处和作者,否则视为侵权。
风险提示:资本邦呈现的所有信息仅作为投资参考,不构成投资建议,一切投资操作信息不能作为投资依据。投资有风险,入市需谨慎!