新浪财经

顺灏股份拟与寿仙谷设立合资公司 开展工业大麻业务

第一财经

关注

顺灏股份3月25日晚间公告,公司与寿仙谷拟共同投资设立一家新公司,共同开展工业大麻种植及下游产品的研发及市场销售业务。公司现金出资800万元,占合资公司40%的股权;寿仙谷现金出资1200万元,占合资公司60%的股权。

经营范围包括工业大麻的科学研究、种植、加工及其产品的销售(在许可证范围内开展生产经营);生物药品制造及生物药品技术开发、运用及销售;植物精油、保洁用品、洗护用品、消毒用品、保健品、食品、日用品、化妆品的研发、生产、销售;经济作物研发、加工及产品销售。

2019年以来,工业大麻概念持续冲高。顺灏股份已连续二个交易日涨停,顺灏股份今日收报14.88元,全日成交金额达到9.24亿元,换手率9.35%,总市值为105.5亿元。

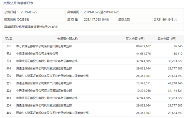
今日龙虎榜上,出现了2家实力营业部的身影,分别位列买二、卖三,合计买入4719.63万元,卖出1486.52万元,净额为3233.10万元。

加载中...