新浪财经

基金经理亲历:从一块上海土地猫腻看地方和地产关系

新浪证券综合

关注

  来自微信公号:山石观市

这是一个基金经理A亲身经历的棚改故事。

也是上海杨浦区城投借棚改政策,巧取闹市区土地的故事。

这番豪夺上移花接木的巧妙操作堪称经典,城投拿地不需要开发不需要拆迁就转手卖地赚了钱,开发商不需要进行土地招拍没有任何竞争者就拿下了一个地理位置极佳的地块。

打麻将总有一个输家,输家就是这块土地上的居民们——这位基金经理父母就是其中之一。

而就在这周,国开PSL的传闻再次撩动了全国人的神经,PSL的存量规模四年之内从3831亿到如今31247亿,棚改货币化相当于政府出资支持买房,无疑给三四线城市的房地产带来了一次大跃进。

房地产市场,一个房一个地,撑起了全社会资产负债表的规模;企业(城投)手中的地变成居民手中的房,这一个动作,就是经济周期最大的引擎。

浸淫市场多年的A,看地产企业、看城投平台,今天终于有机会从一个新的角度来看政房之间的暧昧关系,一块具体的土地。以被迫卷入的方式,从一块上海城投的土地猫腻,看地方政府和房地产的关系。

Part 1:杨浦城投账上的幽灵地块

这块地是上海市杨浦区的176街坊地块,从2010年的新闻可以清楚的看到,毗邻上海的8号线10号线两条地铁线,两个市重点小学,一个市重点中学,还有全国知名的综合性大学,即便在寸土寸金的上海,也是属于非常优越的地段。

图中的小区闸电新村是1953年闸北发电厂为职工所建。从新闻中我们也可以看到,其他另外3家参与竞拍的企业实际并未出价,对这块地理位置较好的地来说也是略显尴尬。

同年,杨浦区城市建设投资(集团)有限公司(以下简称“杨浦城投”)公开募集了15亿元,无担保,7年期的公司债。募集用途显示,其中12亿元用于上海市轨道交通12号线工程杨浦段项目前期工程,3亿元用于补充营运资金。

杨浦城投是杨浦区最大的城市开发建设平台,和其他大城投一样,杨浦城投是由杨浦区国资委独资控股的企业。杨浦城投对杨浦区的建设有多重要,从杨浦城投14-16年的经营数据和14-16年的财政收入情况就一目了然。(为了确保数据真实性公允性,均以17年披露的杨浦城投2016年报数据为准,17年10杨浦01/02到期后不再披露)

从城投的报表和评级报告中我们可以看到对业务和资产的明确描述,公司主要负责各项市政工程的前期动拆迁业务,业务资金一部分来自于公司向银行进行贷款融资,另外一部分来于杨浦区市政项目专项款,相应资金进入专项账户,按照工程进度支付动拆迁工程款。大市政项目的动迁成本计入公司的在建工程。动迁收入和成本是按工程审计及项目拆平交地来确认,同时按照征收委托协议收取一定劳务费,计入劳务收入。同时,公司还购入房源用于动迁安置,所购房源计入存货。

简单的来说,城投主要的两块业务,房屋建设销售中用于动迁安置的计入存货,购入安置房计入存货,拆迁项目按成本计入在建工程,赚取劳务费。然而城投的业务真的就是这么简单吗?让我们回到176这块土地。

2010年12月15日杨浦城投拍得176国有建设用地使用权之后,在11年的年报中理应可以看到这块地。但是令人大跌眼镜的是,这块3.86亿的土地竟然是以拆迁项目的形式出现在了合并报表的在建工程项。并且在之后的12-14年年报中都保持了这一分录。(如图,摘自杨浦城投2011-2014审计年报)

从年报中,我们可以清楚的看到从拍到地的第一天起,杨浦城投就把176这块地的成本以在建工程余额的形式体现在了在建工程一栏。这与其他的拆迁工程似乎是显而易见完全不同的概念。

我们考虑几种可能的情形:

1. 假设杨浦城投是计划之后用于自主开发,那么也应该先记一笔3.86亿的无形资产(土地使用权),然后再根据176地块的拆迁工程支出,计入在建工程项。

2. 为城投想的更多一点,审计师面对这么明显的问题发问,那么城投可以解释为,已经在176土地上进行了一些开发修缮,哪怕是修建小区道路等等,以此来解释为何这块地是出现在在建工程这一栏。即便如此,依然应该在在建工程项中,分出两栏,一栏为176街坊开发项目,货值3.86亿,一栏为176地块拆迁项目,按实际支出计入。

除此之外,我们还可以看到,计入在建工程之后,拆迁工程的余额每年都有一定的增加。然而这里的拆迁一直到16年7月才开始进行。(见下图)

因此,这里的在建工程的增加额不是拆迁款项实际支出的增加。由于年报中并没有进一步披露,这里只能做几种猜测和假设。

一种,这里的支出为利息支出资本化,虽然这显然不符合利息资本化的条件,但是我想税务局应该也是不会在意的,这换做一个普通企业,恐怕第二天税务局就要找上门来了。

另一种,这里的增加额就可能对应任何一种费用了,而且费用的调节空间就相当大了,理论上可以作为所有费用的调整项。为了印证猜想,我们大致估算一下这里的融资比例,我们分别以这几年的贷款基准利率,和shibor 3m利率(也是10杨浦01/02 浮息债的参考标准),大概算了一下。

嗯,真的是令人匪夷所思的一个结果。事出反常必有妖,想这里一定有什么大秘密吧。这块地的故事到这里还没有结束,在2015年的年报中,有这样一条注释。

与之一起的还有一条股权转让的新闻。

原来176这块地在10年竞拍成交5年之后,在没有拆迁也没有开发的情况下,以股权转让的形式已经完成了转让。从工商信息我们可以看到,城昱置业成立于2012年,是杨浦城投100%控股的公司,从以上信息也可以知道,其实就是杨浦城投为了176地块注册的项目公司。在2012-2014的年报当中,我们都可以看到城昱置业的描述。

由此我们可以这样推测,2012年成立城昱公司之后,杨浦城投将自持的176地块使用权划拨给了全资子公司城昱置业,并表后仍然出现在合并报表的在建工程项(以拆迁工程项目名义)。这也可以解释之前的贷款比例问题,可能在杨浦城投时融资比例为50%,到了城昱置业之后可能比例达到了70%。当然这只是基于现有信息的一种推测。

2015年股权变更的受让方,百利荣有限公司是一家注册在香港的公司,查阅工商信息后我们可以看到如下信息。

从公司的在册人员信息,我们不难了解到,这家公司很可能是保利达的项目公司。从上市公司公开信息可以看到,保利达资产的主要业务为投资控股。公司之附属公司之主要业务为投资控股、物业投资、发展及买卖、证券投资及买卖、制冰及提供冷藏服务及石油勘探及生产。保利达资产的第一大股东即为九龙建业,股权比例达到73.44%,离退市也仅仅一步之遥。实控人为公司董事长柯为湘。

到这里,我们基本看到了一个事实,那就是杨浦城投10年末拍得176地块之后,非常巧妙的将它放在了在建工程项目并每年增值,4年之后,在一个绝妙的时点,15年股票牛市的终点,这一轮房价牛市的起点,将这块没有动迁也没有开发的毛地以股权转让的方式,卖了一个香港地产企业。

此时再回过头看放在在建工程这个分录下的操作,可以说是神来之笔。因为为了杜绝企业以股权转让的方式变向炒地,明确规定了当土地还未开发时,项目公司股权(向上穿透3层)不得发生变更。但一旦进行开发之后,在建工程进度超过某个比例之后,股权是可以合法转让的,给了企业到了这一阶段再寻求合作开发的机会。原来把一块毛地混淆为一个拆迁工程一起放进在建工程,就可以在这块地没有任何变化的情况下完成增值并卖出了,真的可以称的上是神操作了。

这个转让时点对应了很多的巧合,14年中央政府提出了地方债务置换的目标和实施方案,这块地对应的债务(假如存在的话,不然在建工程的增值将更加难以解释)理应有机会进入债务置换的范围,却在此时卖出了。这其中是否隐藏了更多的秘密,我们已经无法从公开信息获知。国有土地使用权理应通过挂牌招拍的形式转让,直接转让的方式也让这个定价是否公允成了一个迷,是否存在国有资产流失的问题也显得扑朔迷离。

当然,转让之后这块地仍然没有完成拆迁。正如之前的图显示的,真正的拆迁流程是在2016年的7月才开始的。

有意思的是,在告居民书中,我们看到这次的拆迁受托机构为上海杨房拆迁综合服务有限公司,这也是一个由杨浦城投100%控股的企业,在年报中也有清晰的展示,是并表企业:

然而当真的开始拆迁的流程之后,在2016年的合并报表中,我们却再也看不到熟悉的176街坊土地开发动拆迁工程了。(在建工程列表较长,此处不做展示)176街坊地块位于虹口区杨浦区的交界处,两条地铁线的换乘处,理应是个热闹的市口,但是在杨浦城投的账上,真的算的上一个幽灵地块。

到了这里,我们从一块地,看到了地方政府(城投)在房地产市场上是真正的多面手,作为裁判,可以有诸多工具实施调控;作为选手,也可以在市场上一展身手,既做政府项目又做商业项目;作为庄家,制定游戏规则,收取土地出让金和产业链带来的财政收入;除此之外还能作为神秘玩家,玩出一些普通玩家做不出的操作。

Part 2:浮出水面的无名“神秘玩家”

我们都知道如果撒了一个谎,为了圆这个谎会不得不撒更大的谎,犯了一个错,为了掩盖这个错误,会不得不犯更多的错误。176地块的拆迁就是这样一个例子。我们对比了同一时期政府土地征收的告居民书,可以发现几个明显的差异。

最明显的差别即是“拆迁”和“征收”的差异。文书的制作人非常仔细的在制作过程中回避了一个最核心的矛盾,即是《物权法》的问题。在物权法之前,民法通则对物权制度有所规定,但内容并不完整,不系统。物权法推出后,适逢中国经济腾飞,地产基建建设日新月异,却在房屋拆迁这件事情上引来很多问题。

随着物权法的推出,公民认为房屋为个人的私有财产,受到物权法的保护,拆迁难度大大提升,也在全国各地出现了很多由暴力拆迁引起的恶性事件。为了解决这一矛盾,国务院在2011年废止2001年的《房屋拆迁管理条例》,启用了《国有土地上房屋征收与补偿管理办法》,至此已经不再存在房屋拆迁的概念,人民政府是唯一的拆迁主体对房屋进行征收与补偿,开发商不再具有作为拆迁主体的资格。

但在上面的文件中,我们清晰的看到了,竟然在2016年仍然出现了开发商作为主体的“拆迁”,而非政府主导的“征收”,同时还仔细的在适用法律中去掉了《物权法》,真的是令人啼笑皆非。

另一方面,拆迁开发商上海扬业房地产开发有限公司,似乎又是另一个主体,既非城昱置业,也不是杨浦城投。这又是幽灵地块上出现的什么故事呢?

从杨浦区规土局的公开信息可以查询到,上海扬业房地产开发有限公司在2004年从杨浦区房地局受让了176街坊地块,总价2231万,折合每平米均价1474元。

扬业地产同时在2006年取得了房屋拆迁许可证,许可证所须的6个文件也可以查到。

2003年取得的这一系列文件来看,扬业地产在当年已经对176地块有了完整建设开发规划,当时为商品住宅和办公用房。而之后从前文2010年土地招拍的情况中我们可以清楚的看到,用地性质已经变为了商办。

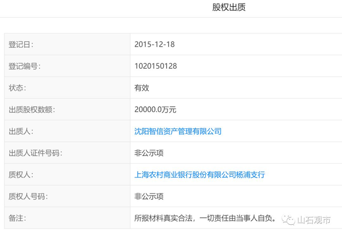
扬业地产的工商信息可以看到,2015年之前,扬业地产是自然人周宝才一人控股的企业,2016年,在城昱置业挂牌转让之后,扬业地产的股权和公司人员结构发生了巨大的变化,公司的唯一控股股东变为了沈阳智信资产管理有限公司,公司的法人和董事长变为了周莉莉。沈阳智信资产管理有限公司的唯一控股股东即之前提到的百利荣有限公司。也就是说扬业地产在2015年之后也通过股权变更,复制了城昱控股的人员结构和股权结构。

至此,我们终于弄清楚了这一系列复杂的股权变化背后的操作和目的。杨浦城投通过股权转让卖出176地块给了保利达,但是由于拆迁尚未实施,而此时已经无法通过正常的人大决议流程,对176地块进行国有土地上的房屋征收,因此找到了10多年前的合法拆迁依据,即扬业地产在06年取得的房屋拆迁许可证,再来组织进行此次拆迁。百利荣的子公司城昱置业有176地块的土地使用权,子公司扬业地产有06年的拆迁许可证,两者合二为一,完成一次精彩的移花接木。

在公开的审计报告中,15年起杨浦城投就已经与176地块没有直接的联系,但从之后的一系列操作中,我们仍然可以看到这个工程背后无形的手。为了让这次移花接木的魔法完美的收场,不可谓不费尽心思。例如,延长了12年有效期的拆迁许可证,延长了14年的房地产开发企业暂定资质证书,伪造居民签字等等。(《房地产开发企业资质管理规定》第六条(五)“《暂定资质证书》有效期1年。房地产开发主管部门可以视企业经营情况延长《暂定资质证书》有效期,但延长期限不得超过2年。自领取《暂定资质证书》之日起1年内无开发项目的,《暂定资质证书》有效期不得延长。”) 

在延长拆迁许可的申请中可以看到,指出了中间的这9年主要是用于商品房房型图的设计,然而这块地的所有权却已经几经辗转,和扬业地产再也没有关系。也非常期待看到耗时10年设计出来的建筑会是怎样的巧夺天工。

至此,我们可以看到176地块的开发商是真正的“神秘玩家”或者VIP玩家,在这块幽灵地块上的操作恐怕如万科保利这样的大型地产商也难以效仿。通过股权转让巧妙避开了现行的,房屋征收——土地招拍,收支两条线完全进入财政口的程序,而是反其道而行之,先卖地后拆迁。卖地收入通过确认股权转让收入留在了城投平台,那么拆迁支出从何而来呢?

由于之前提到的原因,在杨浦城投的合并报表中已经无法看到这个项目,项目的具体支出和来源也就无从考证了。但是在扬业房地产的信息中,我们看到2015年百利荣通过沈阳智信增资成为扬业的大股东之后,又将其持有的扬业房地产有限公司的股权进行了质押,质权人为上海农商行杨浦支行。而扬业地产作为一个项目公司,股权更不可流通,除了资本金以外,还有什么资产呢?这样的股权质押融资,应该会让很多上市公司的股东都无比眼红吧。相比这两年融资如履薄冰的大型地产开发企业,这个名不见经传的地产商无论从操盘还是融资上不得不让人刮目相看。

Part 3:猫腻盛宴的买单居民

如果犯了一个错误,那么一定会有相应的代价,但是承担代价的未必是犯错误的那个人。正如违章行驶的司机会给一个无辜的行人带来灾难,一个违章进行的项目也会有无辜的人收到牵连。

176土地巧妙上移花接木的巧妙操作堪称经典,城投拿地不需要开发不需要拆迁就转手卖地赚了钱,开发商不需要进行土地招拍没有任何竞争者就拿下了一个地理位置极佳的地块,整个操作没有进入财政口径,为政府减轻了负担,为之后的建设发展打下了基础,这就是一个多方共赢的局面吗?可是这个世界那么公平,总会有人要付出代价。

假如这只是一张普通的财报附注上的一个明细,那可能只是A一瞥而过的几个数字,可是这个地方,是A出生长大的地方,是A的家,也是A母亲从小长大的地方。2018年6月26日的清晨,还在睡梦中的父亲被带走了,家中所有的东西都被搬空,被实施了强迁。其余没有走的邻居们目睹了整个过程,而在外工作的A只是被母亲告知,家被强迁了。

如果说一通股权操作加上文件的配合,使得一个现在已经没有土地使用权的公司仍然可以用10年前的许可证来拆迁是合法的,那么至少这是不是一个企业和公民之间的民事关系?

《宪法》第十三条规定“公民的合法的私有财产不受侵犯。国家依照法律规定保护公民的私有财产权和继承权。国家为了公共利益的需要,可以依照法律规定对公民的私有财产实行征收或者征用并给予补偿。”《物权法》第四十二条“为了公共利益的需要,依照法律规定的权限和程序可以征收集体所有的土地和单位、个人的房屋及其他不动产。征收集体所有的土地,应当依法足额支付土地补偿费、安置补助费、地上附着物和青苗的补偿费等费用,安排被征地农民的社会保障费用,保障被征地农民的生活,维护被征地农民的合法权益。征收单位、个人的房屋及其他不动产,应当依法给予拆迁补偿,维护被征收人的合法权益;征收个人住宅的,还应当保障被征收人的居住条件。任何单位和个人不得贪污、挪用、私分、截留、拖欠征收补偿费等费用。”

难道拿着06年的拆迁许可证就可以像开了时光机,回到过去吗?难道告居民书中不写的《物权法》和《宪法》就不是上位法了吗?依据《中共中央国务院关于完善产权保护制度依法保护产权的意见》,修改、废止与上位法矛盾冲突的规章、规范性文件,到了这里反而变成了可以钻的漏洞了?

从法条中我们可以清楚的看到,公共利益是第一位的,对公共利益的定义,《房屋征收管理办法》中也做了说明:

(一)国防和外交的需要;

(二)由政府组织实施的能源、交通、水利等基础设施建设的需要;

(三)由政府组织实施的科技、教育、文化、卫生、体育、环境和资源保护、防灾减灾、文物保护、社会福利、市政公用等公共事业的需要;

(四)由政府组织实施的保障性安居工程建设的需要;

(五)由政府依照国家和本市有关城乡规划规定组织实施的对危房集中、基础设施落后等地段进行旧城区改建的需要;

(六)法律、行政法规规定的其他公共利益的需要。

从176地块的用地性质及规划用途可以看到,和公共利益实在难以挂钩。旧区改建也轮不上这个基础设施齐备的地方,况且旧区改建的流程需要上人大决议,幽灵地块没有这样的程序。

可能A的法律常识还不够,无法理解被强迁的法律依据,但是A的商业知识应该是及格的。A如何去和一个没有土地使用权,没有资产,股权全部抵押的有限责任公司去达成这一个协议呢?而操办安置住房事宜的又是另一个自然人全资的房地产经纪公司?P2P小贷公司都知道股东背景多么重要,牵扯几百人的动拆迁安置也可以如此随意的操作吗。

十有九人堪白眼,百无一用是书生。A曾因自由而无用的灵魂自豪,如今发现只能做到无用而已。国内外大事、宏观经济、上市公司,平日说来滔滔不绝,言必及法治社会、法治意识,可是到头来,连自己的家都保护不了。

老吾老以及人之老,幼吾幼以及人之幼。其父母年逾古稀,遭到强迁后,惶惶不可终日,夜不能寐,睡梦中还在当天的场景中徘徊,在噩梦中惊醒,实在是让为人子女心痛不已。他们退休前从事的是太阳底下最光辉的职业,数十年兢兢业业,桃李天下,为什么到了这个年纪却要遭到这样的噩运呢?他们唯一的诉求,不过是想在自己长大的地方,自己的家安享晚年。

房地产的路还很长,你我都不过是路上的微尘。历史的车轮碾过时间,这背后的真相和谎言,也许若干年才会见于天日。

但是对A的父母来说,现在太阳下山了。

加载中...