2017年常州二手房普涨近50% 房价下降或只是幻觉
乐居财经
说起今年的常州房价,确实是给不少刚需一记重击,一年时间常州房价从“7”字头飙升上了5位数,目前常州新房住宅成交均价早已突破12500元/平米。曾经的一套80平米的全款,如今只能当做首付。新房涨了不少,二手房市场自然也跟风大涨。数据显示,常州热点二手房的涨幅接近50%,部分二手房房价更是超过在售新房,呈现房价“倒挂”。但随着近期常州成交量的下滑、房价趋稳,二手房市场也稍显“冷静”,业内人士表示,下一波涨幅或将在地铁开通之后。
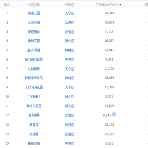
部分二手房涨幅(来源:中国房价行情)
二手房房价“倒挂” 昂贵装修成本难以“兑现”
谈起是什么原因引发常州这一轮的价格大涨?是因为三年没供地,地块高价出让引发房价涨幅?还是常州本身房价就偏低?回归常州房价开涨的之前,还是由于周边城市的大涨引起常州的跟涨,而从6月份开始的土拍之后,常州房价并未出现大幅的波动,应该说价格涨幅还是控制在合理的范围内,短期的涨跌主要由于部分高价盘的入市引发。
信息来源于二手房网站
信息来源于二手房网站
回到二手房市场,今年购房者关注且谈论最多的还是学区房的涨价。几十年楼梯老房子因为学区价值,价格逼近了3万元/平米。另外,由于新房源紧张,“放荒”传言也不绝于耳,一些地理位置和配套都不错的新交付二手房也成了许多购房者的热门之选。如位于武进吾悦广场旁的绿城玉兰广场,从二手房网站上她的部分二手房源均价已超过17000元/平米,而目前其新房项目融创常州御园新房均价大概在13500元/平米左右。此外,位于天宁区的华润国际社区因为局小学区和地铁1号线的双重优势,基本到了一房难求的地步。目前二手房均价在13500元/平米以上,而之前一批新房源备案价仅在10500元/平米。因此,常州部分热门二手房房价倒挂已经成为趋势。深究倒挂原因,主要是因为二手房蕴藏的装修成本,这些高于新房源许多的房源,装修成本相对较高。但这也成为房东们的为难之处,自己实实在在掏出去的装修成本,在二手房交易时候却难以兑现。这大多数是因为购房者嫌“旧”的心里或者想要自己的装修风格。这里小编不禁想提醒购房者,面对装修公司和主材的年年涨价,装修成本也是水涨船高,因此在选择二手房如果装修材料都相对不错的情况,还是相对划算的。
常州房价趋于“冷静”下一轮或在地铁开通之后
从12月每一周的房价来看,常州的住宅成交均价大概在12500元/平米以上。目前,2017年常州土拍已经结束,从后面几场土拍来看,行情相对偏冷,地块溢价率都偏低。因为由地价再度带动房价涨幅基本已无可能。目前房价维持这个水平,主要在售热销项目的均价都在这个水平上下浮动。精装修房源基本价格在15000元/平米左右,毛坯房价接近11000元/平左右。

另外,从今年推出的房源以及即将入市的新房源,不久常州市场上精装修项目房源将大幅增加,在此基础上常州房价不会出现大幅降低反而由于精装项目房源的高价位还会持续拉动常州的房价。业内人士判断,常州的地价不会让房价出现大涨,随着地铁开通以及越来越多的地铁线路规划,这或许将带动常州房价的上涨。
常州房价会涨会跌?市场自然会给我们答案,至于购房者,选择房源谨慎再谨慎,不管是刚需还是改善还是投资,且行且珍惜!